Apple trabaja en una pantalla plegable que resiste el agrietamiento
La pantalla plegable que estaría desarrollando Apple tendría una capa protectora que evitaría la presencia de grietas.
- Especialistas en IA ganan terreno en Perú con sueldos altamente competitivos, según líder de Coursera para Latinoamérica
- Usuarios reportan caída de YouTube: plataforma muestra error en página principal
Los teléfonos plegables están de moda y parece que Apple también está interesado en tener un iPhone con estas características, ya que se acaba de revelar que está trabajando en una pantalla que, a diferencia del resto, resiste el agrietamiento.
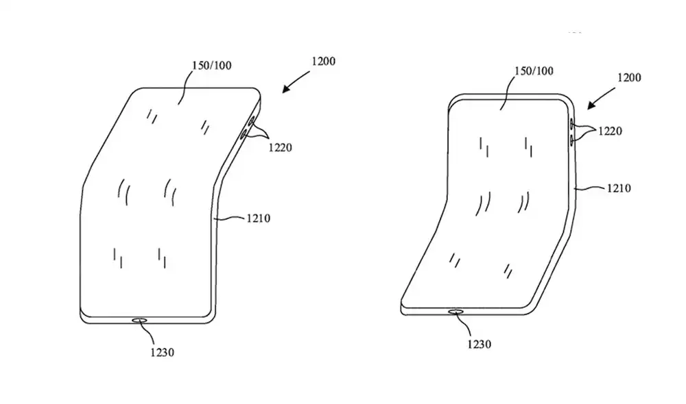
Según detallan medios especializados, los de Cupertino registraron una patente en la Oficina de Patentes y Marcas de Estados Unidos que muestra cómo funcionaría la pantalla plegable que podrían tener sus futuros dispositivos móviles.
TE RECOMENDAMOS
TEMU VS. ALIEXPRESS: ¡AQUÍ ESTÁN LOS MEJORES PRECIOS! | TECHMOOD
“Estructura híbrida de revestimiento / ventana para aplicaciones de pantalla flexible”, nombre oficial de la patente. Busca solucionar los problemas de rotura de pantalla que se han producido en algunos teléfonos plegables de sus rivales.
De acuerdo a la publicación del medio MacRumors, la pantalla de los futuros celulares plegables desarrollados por Apple tendrían una capa protectora de revestimiento que evitaría la presencia de grietas.
“La fractura del vidrio empieza por la presencia de microgrietas. La capa de protección rellenaría las microgrietas existentes y, por lo tanto, se dificultaría el desarrollo de una más grave”, señala.
Las imágenes adjuntas a la patente muestran ilustraciones de los iPhone plegables que se doblarían hacia adentro, como hacia afuera, lo que sorprendió a muchos usuarios en las redes sociales.
Se desconoce cuándo Apple tendrá listo su teléfono plegable. Lo que si se sabe es que sus últimos dispositivos móviles, nos referimos al iPhone 12, iPhone 12 Pro y iPhone 12 Pro Max, vienen con Ceramic Shield.
Esta tecnología ha sorprendido a muchas personas, ya que mejora la resistencia de los teléfonos de Apple hasta cuatro veces, es decir, estos equipos ya no se rajarán si se te caen al piso por accidente.
























