PS5: asistente de voz de PlayStation 5 'ayudaría a gamers a terminar videojuegos
La patente de Sony sugiere que el asistente de voz de PS5 sería un servicio de paga, el cual se podrá descargar como si fuese un DLC.
PS5 genera polémica entre los usuarios. Una patente de Sony descubierta hace explica que la empresa tendría pensado implementar la inteligencia artificial en PlayStation 5, cuya función sería la de un asistente de voz, como servicio de paga, para brindar soluciones a ‘gamers’ que se han quedado estancados en alguna etapa de su videojuego favorito
La patente de Sony fue registrada en julio del 2018; sin embargo, su contenido recién fue publicado esta semana, por lo que muchos jugadores sugieren que este esquema se trate de la inteligencia artificial que podría tener PS5, y se convertiría en un servicio de paga incentivando a las microtransacciones para que los jugadores no se queden atascados en algún nivel, debido a la dificultad con el que se crearían los videojuegos de PlayStation 5.
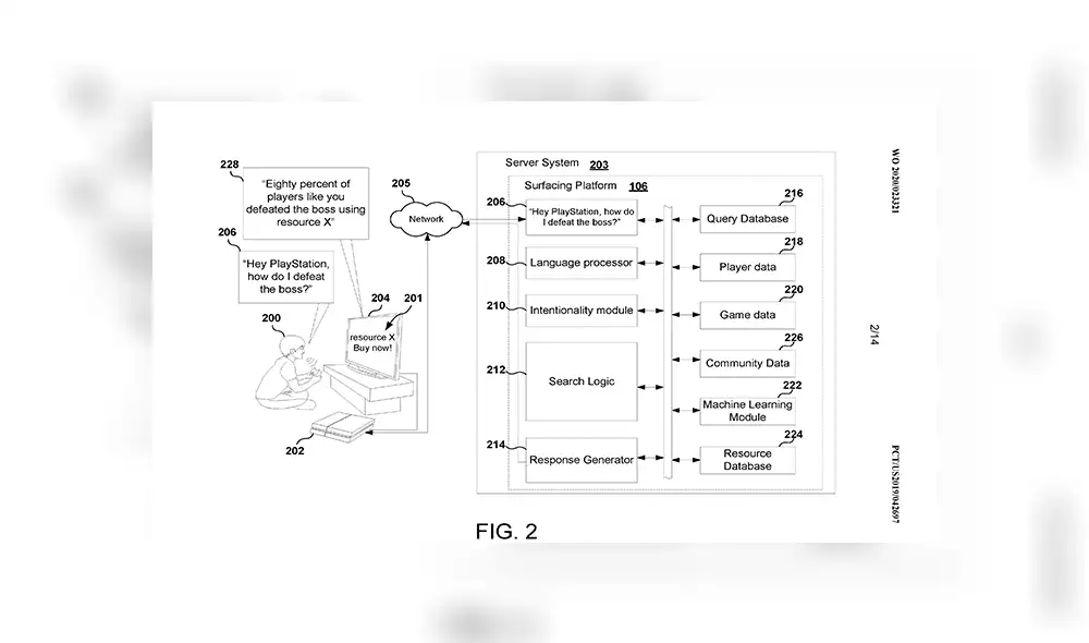
La patente de Sony se titula: “Eh, PlayStation, ¿cómo derroto a este jefe?" Convirtiendo a la inteligencia artificial en una plataforma emergente de búsqueda, que identificará en qué parte del videojuego el usuario de PS5 se quedó atascado para brindar las soluciones respectivas, similar al asistente de Google o iOS, con la única diferencia que sería deberás pagar por ella.
Las respuestas de la inteligencia artificial no serán de esta manera: esquiva tal ataque o utiliza esta arma, sino que seleccionará objetos dentro del videojuego que ayudará a los jugadores a superar dicho nivel.
Lo llamativo de la patente, es que los usuarios de PS5 deberán pagar para recibir la ayuda de la inteligencia artificial de la consola; además, este asistente llegará como DLC en el que habrá add-ons, actualizaciones, ítems, consejos, estrategias e información de la comunidad acerca de los niveles de videojuegos que pueda tener PlayStation 5.
PUEDES VER PS5: PlayStation 5 se presentaría en discreto evento del 27 de febrero al 1 de marzo [FOTOS]
Esta sería la única forma en que la inteligencia artificial ayudaría a los usuarios de PS5 a pasar sus videojuegos. Además, la función de la patente suena muy distinto a PlayStation Asssist, la misma que marca objetos como curaciones o hacen que los videojuegos sean mucho más fáciles para los jugadores.
¿Cuándo sale a la venta la PS5?
Recuerda que la consola PS5 tiene como fecha de lanzamiento finales del 2020, por lo que podría salir a la venta entre finales de noviembre e inicios de diciembre del presente año. Además, su precio aún es desconocido.
Ya que Sony está esperando saber cuánto costará la consola de su competencia, Xbox Series X, para colocar un precio a PS5, por lo que se especula que PlayStation 5 sea una de las consolas más baratas del mercado.
Es necesario mencionar que Sony aún no se pronuncia respecto a esta patente de inteligencia artificial, ni mucho menos se sabe si será añadida a PS5 o cuánto deberán pagar los jugadores por la asitencia, por lo que esperaremos a lo que pueda decir la compañía japonesa acerca de PlayStation 5.
Fuente: Videogamer
¿Cuánto cuesta la PS5?
Entre las principales predicciones para el precio de PS5 se mencionan precios desde 399 hasta los 499 dólares. Sin embargo, un escenario más realista es el de los 499 dólares. Eso sí, si Sony logra ofrecer todo esto a un precio 100 dólares menor, sería un logro difícil de alcanzar por Microsoft.
Las partes que conformarían la PS5, a partir del precio retail con el que se encuentran por separado son las siguientes: Tecnología Ray Tracing (360 USD), unidad de estado sólido (100 USD), lector de Blu-Ray en 4k (200 USD), DualShock 5 (60 USD)estima que el coste neto de una PlayStation 5, sin aplicar lo que pueda reducir Sony como predicción, ronda los 720 dólares.
PS5: precio y fecha oficial de lanzamiento
El lanzamiento de PS5, según PSErebus, será el 20 de noviembre de 2020 al mercado de Norteamérica, a exactamente un año de estas fechas. Otra filtración apunta que la PlayStation 5 llegará el día 4 de diciembre, para coincidir con el lanzamiento de la primera PlayStation en Japón, en 1994.
La presunta distancia de exactamente un año puede haber sido el motivo principal por el que PSErebus revelará la fecha de lanzamiento de PS5 a un año de su posible salida. Conoce más detalles de PlayStation 5 ingresando a este enlace.
¿Cuánto cuesta un Play 5? Hace algunas horas, analistas del portal GamesIndustry soltaron su estimación del precio tanto de PS5 como de Xbox Series X. Para los expertos en la industria de consolas, la PlayStation 5 llegará al mercado con un costo de de 500 dólares, al igual que la nueva Xbox, su principal competidor.
PS5: PlayStation 5 con forma de PC aparece en imágenes filtradas
PS5 se une a la tendencia de las consolas de la nueva generación en lo que respecta al diseño. Fotografías filtradas de PlayStation 5 muestran que el hardware de Sony tendría un aspecto similar al de una PC moderna, que la hace muy parecida a Xbox Series X. El modelo ya es viral en redes sociales y gamers mencionan que la plataforma se parece a un ‘tacho de basura’ pero muy elegante.
Las imágenes de PS5 se hicieron viral en redes sociales desde hace algunas horas, y muestran, entre su variedad, dos posibles modelos que han enamorado a los fans, sugiriendo que la PlayStation 5 podría llegar hasta en dos presentaciones.
PS5: PlayStation 5 leerá tus juegos de PS1, PS2, PS3 y PS4 mejorando sus gráficos en retrocompatibilidad
La PS5 será una explosión de nostalgia y un auténtico boleto hacia el pasado. La consola de Sony tendrá retrocompatibilidad con los videojuegos de PS1, PS2, PS3 y PS4. La PlayStation 5 podrá incluso mejorar las gráficas de los más de 12 mil títulos que será capaz de correr en su lanzamiento, todo gracias al motor de procesamiento de renderizado. La noticia se ha hecho viral en redes sociales y millones de fans en Facebook se emocionan.
Increíble pero cierto. PS5 podría consolidarse como el desenlace de décadas de lecciones en Sony, por las cuáles entendieron la importancia de la retrocompatibilidad. La compañía estaría desarrollando una herramienta para PlayStation 5 que ‘remasterizaría’ los títulos de sus consolas anteriores desde PS1 hasta PS4.
PS5: filtración del precio aterra a los fans
El precio de PS5 ha generado un punto de agitación serio en la comunidad de gamers en las últimas semanas, todo a causa de la revelación de GAMERS GATE, un portal de Japón que aseguró sin mayor filtro que la fecha de salida de PlayStation 5 será el viernes 4 de diciembre 2020 y que su precio será de 69,800 yenes, es decir, 637 USD.
Miles de fans en redes sociales pegaron un grito al cielo con la revelación de GAMERS GATE. Un precio de más de 600 dólares haría de la PS5 la consola más cara de Sony, lo que podría justificarse por sus innovadoras características.
Fue tanta la conmoción en la comunidad que la misma Sony tuvo que intervenir para pronunciarse, por primera y única vez hasta ahora, sobre el precio de PS5. Sin embargo, lo que afirmaron no dejó muy calmados a los millones de fanáticos que ya ahorran para una PlayStation 5.





























