Xiaomi patenta nueva tecnología de cámara frontal “totalmente invisible” [VIDEO]
Xiaomi ha presentado una nueva patente que revela un sistema de cámara “invisible” oculta debajo de la pantalla y aparecería solo cuando sea necesario.
- ¿Utilizas billeteras digitales en tu smartphone? Así puedes cuidar tu dinero y evitar fraudes
- ¿Te acaban de hackear? Estos son los pasos que debes seguir en los primeros 15 minutos
Tiempo atrás, Xiaomi reveló sus avances en el desarrollo de una tecnología que permitiría implementar la cámara frontal debajo de la pantalla del smartphone, una ingeniosa solución para eliminar el notch.
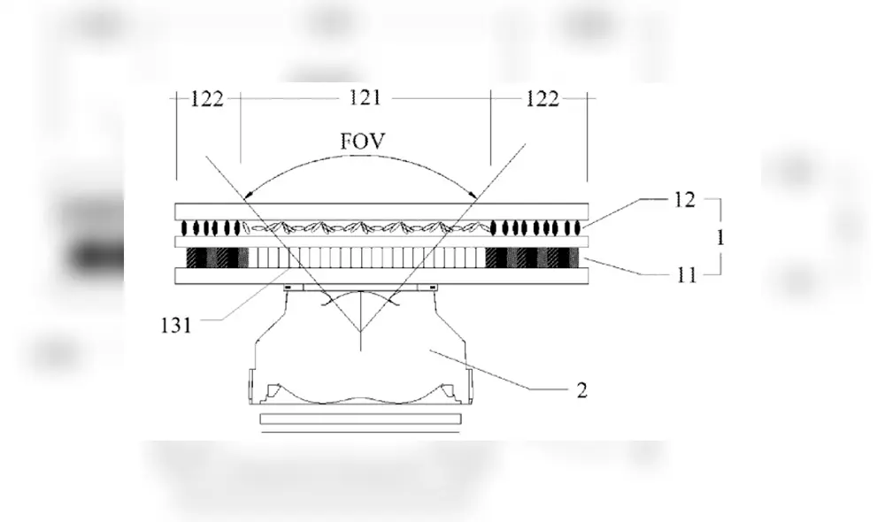
Como adelantó en ese entonces Wan Xiang, actual presidente de Xiaomi, para aplicar este sistema utilizarían una pantalla OLED, la cual estaría rediseñada con un ánodo transparente en cierto grado, permitiendo que la luz exterior ingrese al sensor de la cámara cuando los pixeles de la pantalla estén apagados.
TE RECOMENDAMOS
TEMU VS. ALIEXPRESS: ¡AQUÍ ESTÁN LOS MEJORES PRECIOS! | TECHMOOD
Ahora desde el portal web chino IT Home, han compartido la nueva patente presentada por Xiaomi titulada “Estructura de pantalla y equipo electrónico”, la cual desvela cómo ha evolucionado la tecnología de cámara oculta debajo de la pantalla de la compañía.
En el documento se describe la mejora en la capacidad de transmisión de luz del panel, donde la pantalla facilitaría el manejo independiente de los múltiples píxeles que están encima de la cámara frontal.

Patente que revela el sistema de cámara bajo la pantalla de Xiaomi.
Es decir que, al activarse la cámara, los píxeles darían paso a la luz para que el sensor pueda tomar fotografías sin problemas, y se bloquearían para mostrar una pantalla completa cuando la cámara no está en uso. Esta tecnología podría debutar en el próximo Xiaomi Mi MIX 4.
PUEDES VER: Xiaomi lanza la versión estable de MIUI 11 para más de 15 smartphones nuevos y así puedes instalarlo [VIDEO]
Xiaomi lanza el Mi 9 Pro 5G, su poderoso smartphone con carga inalámbrica veloz
Xiaomi ha revelado oficialmente su nuevo y potente smartphone: el Mi 9 Pro 5G, una versión mejorada de su buque insignia que ofrece renovadas características y que se ha convertido en su segundo móvil con compatibilidad con las redes de quinta generación.
El Mi 9 Pro 5G llega equipado con el último procesador Snapdragon 855+ y la reciente actualización de MIUI 11 basada en Android 10, además de una memoria RAM de hasta 12 GB y almacenamiento interno de 512 GB.
Xiaomi Mi Note 10: el nuevo móvil con cámara de 108 megapíxeles y batería de 5,260 mAh
Tras dos años sin actualizaciones, Xiaomi presentó a inicios de noviembre su renovada serie Mi Note, conformada por el Mi Note 10 y Mi Note 10 Pro, y que representan la versión internacional del Mi CC9 Pro que se venderá exclusivamente en China.
Xiaomi ha equipado a estos smartphones con destacables características premium, como un sistema de cinco cámaras con sensor principal de 108 megapíxeles y una amplia batería de 5,260 mAh con carga rápida Charge Turbo de 30 W.
En su interior, está equipado con el procesador Snapdragon 730G y ejecuta el último MIUI 11 basado en Android 9 Pie. Ofrece dos variantes: 6G de RAM + 128 GB de almacenamiento y 8 GB de RAM + 256 GB de almacenamiento.
PUEDES VER: Xiaomi supera a Samsung y ahora lidera uno de los mercados más grandes del mundo [FOTOS]
Xiaomi busca destronar a sus rivales con su nuevo smartphone 5G más barato, el Redmi K30
Desde hace unos meses, se pudo conocer que, a inicios del 2020, Xiaomi iba a lanzar sus primeros smartphones 5G económicos. Sin embargo, la fabricante china cambió de planes y optó por lanzar su dispositivo compatible con la tecnología de quinta generación, antes de lo esperado. El Redmi K30 5G acaba de ser lanzado en China, junto a su hermano menor Redmi K30.
Los nuevos teléfonos de Xiaomi, Redmi K30 5G y K30, son muy similares, salvo en las algunas características. El K30 tiene en su interior un procesador Qualcomm Snapdragon 730G, mientras que la variante 5G viene con el Snapdragon 765G.
Xiaomi revela que planea lanzar más de diez smartphones 5G en 2020
Durante la sexta edición del World Internet Conference, celebrada en la ciudad china de Wuzhen este 20 y 21 de octubre, Xiaomi reveló que tiene planeado lanzar más de diez smartphones 5G el próximo año.
Según indicó Lei Jun, CEO de Xiaomi, la demanda del Mi 9 Pro 5G superó las expectativas de la compañía y provocó problemas con la cadena de suministro. Esto ha motivado a la fabricante de traer más modelos 5G para la gama de entrada, media y alta.
Xiaomi: analizan la cámara del Mi 9T Pro y la ponen por encima del iPhone XR
El laboratorio DxOMark es la encargada de comprobar la calidad fotográfica de un smartphone y compararla así con el resto de dispositivos del mercado. Analizan diversos aspectos de la cámara como el color, el contraste, la nitidez, el ruido o incluso el tipo de flash. Ahora el Xiaomi Mi 9T Pro ha sido sometida a esta evaluación y luego sus resultados fueron comparados con el iPhone XR.
Expertos en fotografía han sido los encargados de realizar este análisis en donde le ha tocado el turno al Xiaomi Mi 9T Pro (Redmi K20 Pro). En concreto esta prueba arroja una puntuación total de 102 puntos en el apartado fotográfico, situando al dispositivo por delante del iPhone XR y el Xiaomi Mi MIX 3.
Redmi Note 8 Pro: Xiaomi presenta en Perú su nuevo smartphone de 4 cámara
Xiaomi acaba de presentar en Perú el Redmi Note 8 y el Redmi Note 8 Pro, dos smartphones de gama media que prometen convertirse en los engreídos de miles de personas, ya que poseen interesantes especificaciones técnicas, como su cámara cuádruple, a un precio bastante accesible.
Jaime Oyola, retail manager de Xiaomi en Perú, conversó con La República para brindarnos las novedades y diferencias que existen entre el Redmi Note 8 y el Redmi Note 8 Pro, dos equipos que ya están disponibles en nuestro país, gracias a Claro.


































