PS5: personas con problemas de visión podrían jugar a través de textos en braille [FOTOS]
Accesibilidad al máximo. La PS5 haría feliz a millones de gamers con problemas de visión o ciegas, con dispositivo capaz de emitir textos en braille para el mando DualShock 5.
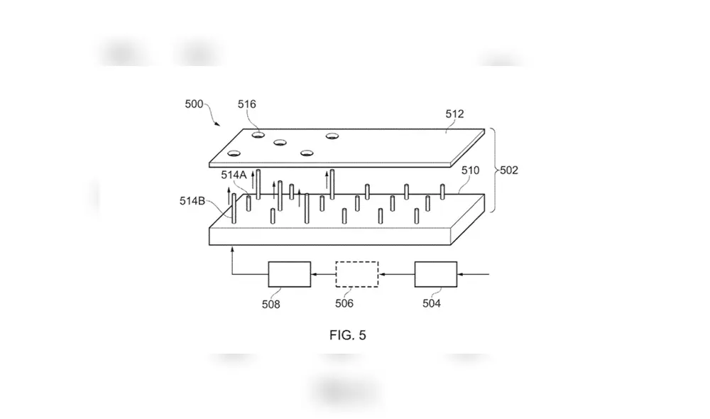
Ejemplo de accesibilidad en PS5. Millones de personas con visión limitada y hasta ciegas podrían beneficiarse y disfrutar el catálogo de PlayStation 5 según lo señalado en una patente recién registrada por Sony. En ella se describe un sistema para emitir textos en braille a través de un dispositivo que se acopla al mando DualShock 5.
La nueva patente del Dualshock fue registrada en Estados Unidos y se trata de un pequeño dispositivo que se colocaría en el touchpad del mando de PS5, que tendrá retroalimentación táctica y añadiría una interfaz con información en texto para gamers con problemas de visión.
PUEDES VER Phillip Chu Joy sobre presentar la PS5: “todo se está cancelando por el coronavirus” [VIDEO]
Es decir, este dispositivo de DualShock tendría la capacidad de enviar mensajes al usuario en sistema braille, para que pueda encontrar rápidamente su videojuego favorito desde la interfaz del menú de PS5 o información acerca de algún suceso dentro del título.
La superficie gadget tendrá varios orificios, por los que saldrán pequeñas barras, que darán origen a la lectura braille desde el mando DualShock. No obstante, es posible que el producto final de Sony no sea de esta manera.
El registro de patentes es para proteger las ideas; sin embargo, el hecho de que Sony analice trabajar en un gadget con sistema braille para el mando DualShock deja entrever la búsqueda de la empresa para que PS5 se convierta en una consola de videojuegos que todos podrán disfrutar.
Cabe mencionar que Sony no es la primera empresa de videojuegos en tener como ‘target’ personas con discapacidad, ya que Microsoft lanzó hace un buen tiempo Xbox Adaptative Controller, un mando que provoca una jugabilidad más accesible.
PS5: desarrollador filtra misterioso mensaje con las especificaciones de la PlayStation 5
Los fans de PS5 participaron activamente para descifrar un mensaje que estaría filtrando las especificaciones técnicas y gráficas de la PlayStation 5. El mismo fue enviado por un desarrollador verificado de nombre o’dium, mostrando un código escondido que indica 11 teraflops, 52 CU’s y 1743 MHz.
O’dium publicó una muy misteriosa imagen en dicho portal donde se muestra un ave llevándole una carta a Mark Cerny, el diseñador de la arquitectura de PS5. Aunque el mensaje está encriptado, usuarios de ResetEra no tuvieron mayores problemas para descifrarlo.

PS5: un mensaje escondido con "cucus"
PS5: ¿juegos de PlayStation 5 saldrán en PC? Sony aclara
Para casi nadie hay dudas de que la PlayStation 4 fue el gran ganador de la generación, y se debe en gran parte a su gran catálogo de videojuegos exclusivos. Uno de ellos, Horizon Zero Dawn, acaba de publicarse entre la polémica para PC y se abren las dudas sobre si esto se repetirá para otros juegos tanto de PS4 como PS5. Sony ya se pronunció sobre ello.
Tal cual como ya ha ocurrido con Detroit: Become Human, Heavy Rain y algunos otros juegos narrativos de Quantic Dream, la llegada de Horizon Zero Dawn marca otro caso en el que un exclusivo de PS4 dejará de serlo, todo con una gran diferencia: el título está hecho por un estudio subsidiario de Sony (first party).
Si Nintendo es conocido por ser muy estricto con sus propiedades intelectuales, este no sería el caso con Sony, quien ya se pronunció al respecto sobre la decisión, a través de Hermen Hulst, nada menos que la cabeza de Sony Worlwide Studios, conglomerado que reúne a todos los desarrolladores first-party, responsables de exclusivos como God of War, Marvel’s Spiderman, Bloodborne, etc. Revisa todos los detalles en este enlace.
PS5: ¿una PlayStation 5 con forma de cubo? diseño de fan se hace viral
PS5 será una consola muy potente, según lo menciona Sony; sin embargo, a muchos fanáticos también les importa la estética de la máquina de videojuegos, quienes imaginan el aspecto final que podría tener la PlayStation 5 y cómo se vería si fuese un cubo.
El novedoso diseño de PS5 con forma de cubo responde, en parte, a la incertidumbre que sienten los fanáticos al no realizarse la presentación de la consola de videojuegos, en la que se espera que el aspecto final de PlayStation 5 mantenga la característica “V” que hemos visto tantas veces en el prototipo de la máquina.
La PS5 con forma de cubo fue diseñada por el usuario Zaagfluit, quien fue felicitado por algunos usuarios de Reddit, mientras que otros mencionaron que el aspecto de esta PlayStation 5 es similar al de la competencia: Xbox Series X, cuya apariencia es la de un prisma rectangular. Entérate de más detalles en esta nota.
GTA 6: Rockstar anunciaría el videojuego en menos de dos semanas, según youtuber
GTA 6 sería el próximo lanzamiento del conocido estudio Rockstar Games y podría llegar a PS5 y Xbox Series X. Un usuario anónimo publicó en el foro de 4chan, que el anuncio de Grand Theft Auto 6 sería inminente y se realizaría el próximo 25 de marzo.
La información acerca del anuncio de GTA 6 trascendió desde 4chan y fue recogida por el youtuber MrBossFTW, quien publicó un video explicando que en el foro apareció una publicación con el logo del estudio Rockstar Games.
PS5: Konami y Kojima se amistarían para revivir Silent Hill
La PS5 pisaría fuerte y daría miedo. La emblemática saga Silent Hill vuelve a estar cerca de los rumores de la industria, y ya no solo con uno, sino dos videojuegos que podrían llegar. Lo mejor es que los más interesados serían el propio Hideo Kojima y Konami, sirviendo Sony de intermediaria.
Los rumores acerca del regreso de Silent Hill iniciaron hace un par de semanas, cuando algunos miembros del famoso ‘Team Silent’ compartieron misteriosos mensajes haciendo referencia a la saga de videojuegos de terror, que arribaría a la consola PS5. Revisa todos los detalles siguiendo este enlace.
PS5: precio en Perú
La PS5 mantiene la angustia de los gamers en todo el mundo, a pesar del hermetismo de Sony. El precio de la plataforma preocupa a millones, pues muchos analistas señalan que esta llegaría por 500 dólares al mercado global. En Latinoamérica, como es habitual, tendremos que pagar aún más para hacernos con la consola. ¿Cuánto tendremos que pagar por la PlayStation 5 en países como Perú, Colombia, Chile, Argentina, México y demás?
La PS5 costaría, unos 450 dólares por unidad elaborada a Sony. Esto abre la posibilidad de que, si la compañía quiere ganar inmediatamente por consola vendida, el precio en retail ascienda a 470 dólares o hasta los 500 dólares.
Si la PlayStation 5 llega al mundo con un precio de 499 dólares al mercado internacional, probablemente, su valor en Perú supere los 2 000 soles. Una simple regla de tres genera un monto de aproximadamente 2,400 soles.




























