PS5: mandos de PlayStation 5 se podrían cargar de forma inalámbrica según patente [FOTOS]
La PS5 llegaría llena de ‘gadgets’ y uno más se suma a la larga lista de patentes. Sony podría equipar a la consola con la capacidad de recargar sus mandos de forma inalámbrica.
La PS5 tiene el potencial de llegar con más de una sorpresa para los fans que la esperan ansiosos. Una vez más, es una patente de Sony la que ha captado la atención de los usuarios pues les permite soñar con una característica muy esperada: la capacidad de cargar los mandos DualShock 5 de forma inalámbrica.
A través de la página de la Organización Mundial de la Propiedad Intelectual, se dio a conocer una patente relacionada con los mandos de control y la forma cómo se cargan.
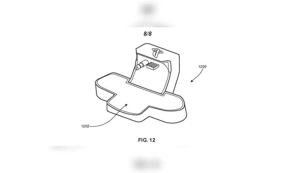
La misma detalla un “adaptador de carga inalámbrica con botones para control de juego de computadora”, lo que para muchos fans es un indicio de que los mandos de PS5 se cargarían sin necesidad de cables.
Este adaptador se conectaría a la pared, pero se enlazaría inalámbricamente con una segunda pieza llamada ‘base’ que se enchufaría a la parte inferior del mando de PS5. La conexión entre ambas piezas contaría con el estándar Qi.
Esto es lo que dice la patente en cuanto a las funciones de este dispositivo: “enlazar el adaptador con la base de carga para proveedor fuente de carga a través del adaptador a la batería”. Si este diseño hace referencia a PS5, lo más probable es que deba conectarse a la base de su control.
“En otro aspecto, el dispositivo de carga inalámbrica, que puede sujetarse a un control de juego de computadora, se acoplaría inductivamente a una base de carga para recargar inalámbricamente una batería en el control", señala el mismo documento.
“El adaptador también puede incluir una o más teclas que asemejen las respectivas teclas en el control, de forma que un jugador pueda retirar el adaptador con el control de la base de carga, mantener el adaptador con el control y usar tanto los botones de este como los del adaptador para controlar un juego de computadora”. Los fans procesan esta información según sus deseos: que por fin lleguen las cargas inalámbricas a las consolas gracias a PS5.
PUEDES VER PS5 sin exclusivos: Square Enix se resigna a crear videojuegos para una sola consola [FOTOS]
¿Cuándo sale a la venta la PlayStation 5?
La fecha de lanzamiento de PS5 será, según anuncio oficial de Sony, a finales del 2020, en el último cuarto del año. Aun así esta fecha podría retrasarse debido al coronavirus según señaló un reconocido analista.
Desde la web oficial de PlayStation, Sony reveló que PS5, su consola de octava generación, saldrá al mercado a finales del 2020 pero sin detallar la fecha de exacta. Sin embargo. Sin embargo, la sorpresa mayor fue que la empresa lo dijo como si fuese un dato menor.
PS5: DualShock 5 podría medir el ritmo cardíaco y secreción de sudor de usuarios
PS5 llegaría con un mando sin igual. La nueva patente de Sony revela que el control DualShock 5 podría medir el ritmo cardíaco y secreción de sudor de los usuarios a través de sensores de biofeedback (biorretroalimentacion) con el que contaría el control de PlayStation 5.
El mando DualShock 5 se convertiría en una de nuestras extremidades. Según el portal Respawnfirst, el control de PS5 tendría un sensor en uno o ambos agarres laterales para medir la secreción de sudor y ritmo cardíaco del usuario, y así tener una mejor experiencia de juego a través de ajustes en la jugabilidad de los títulos.

Los mandos DualShock 5 tendrían sensores en los lateralles y agarres del mando.

































